Assalamu’alaikum wa rochmatullohi wa barokatuh
Salam sejahtera buat kiita semua, semoga kita semua selamat di perjalanan sampai ke tujuan
Januari 2017 yang lalu, motogokil pernah menulis mengenai mundurnya honda dalam mensponsori moto2 [artikel], yang kemudian digantikan oleh triumph. Salah satu penyebabnya adalah karena memang honda sudah mendiskontinyu produksi cbr 600rr. Wajar tidak ada dagangan ya tidak ada balapan.
Akan tetapi ternyata pada bulan yang sama, yaitu januari 2017, rupanya honda mem-patent-kan “sesuatu” yang merupakan bagian dari cbr 600rr. Artinya honda akan merilis kembali honda cbr 600rr, tentunya dengan kebaruan yang mampu menjawab tantangan. Adapun tantangan yang harus dihadapi honda untuk cbr 600rr di pasar eropa adalah :
- Power dan
- Emisi gas buang
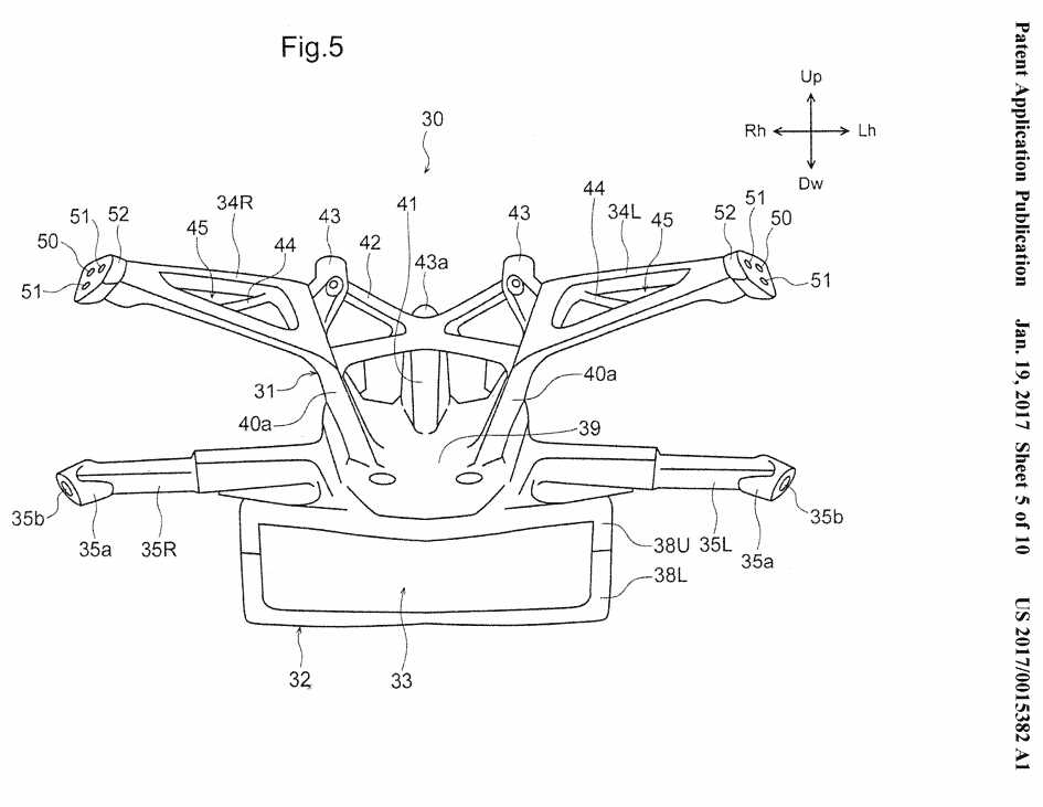
Lalu apakah yang di-patent-kan honda ???……Lihat beberapa gambar ini
[sumber]
Rupanya yang dipatenkan adalah model air duct baru beserta pernik-perniknya. Bagaimana air duct bisa menjawab tantangan besarnya power dan rendahnya emisi gas buang ? Ulasannya akan panjang, nanti akan motogokil bahas pada artikel berikutnya (tolong diingatkan kalau lupa).
Info ini sebenarnya buka info yang fresh, karena melihat tanggal patent-nya 19 januari 2017, berati sudah 3 bulan yang lalu. Tapi entah motogokil yang kudet, kok baru tahu sekarang. Sepertinya otomotifnet pernah sekilas embahas di bulan februari [artikel], tapi motogokil nggak tahu. Dari info ini, semoga menjadi kabar gembira bagi pencinta honda cbr 600rr. Karena akan ada generasi baru yang lebih baik dari sebelumnya, yang akan (mungkin) dirilis tahun 2018 nanti. Kita lihat saja nanti.
Semoga info ini bermanfaat, mohon maaf jika ada salah dan kuranya, wassalamu’alaikum wa rochmatullohi wa barokatuh.

Nahh ini kelas supersport yg hidup lagi dari berita kepunahan.sangat dinantikan artikel berikutnya
Bakal dilengkapi knalpot raksasa juga
https://kupasmotor.wordpress.com/2017/04/07/ini-riset-yang-menunjukkan-ngawur-dan-bahayanya-ajaran-safety-atau-defensive-riding-mendahulukan-rem-depan-dan-melarang-menaruh-jari-di-tuas-rem/
ga mungkin klo honda lepas kelass ini….. jualan cbr600rr laris kok!!
zwing zwing inline 4 cyl.
King of ARRC
Gerah ngeliat sepak terjang r6 di wss..
Ga terima kalo diem aja
Bisa jadi
Cbr600rr motor incaran ane nih om, sayang yg terjangkau cuma yg no paper…
kami harap pt motor honda di seluruh jabotabek segera mengeluarkan produk yg terbaru untuk motor vario f1 110 pd thn.2018